摘要:
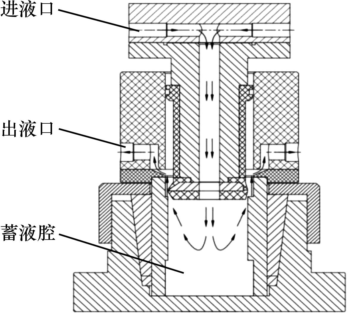
渐开线内花键由于型面复杂、空间受限等原因,流场的均匀性不易控制,导致电解加工时精度难以提高。针对电解液流动方式、流道结构、加工模式进行分析,设计了阴极导流结构,并基于仿真平台进行流场分析。结果表明,进出液导流结构能够消除涡流等流场缺陷,显著提高加工区的电解液流速,满足渐开线内花键电解整形加工需求。采用进出液导流结构开展加工试验,加工过程稳定,工件表面光亮整洁无流痕,粗糙度Ra可达0.8 μm,内花键精度达5级,验证了导流结构的合理性。
中图分类号:
李阳, 韦红余. 内花键电解整形阴极导流结构优化与试验[J]. 中国机械工程, 2025, 36(11): 2658-2664.
Yang LI, Hongyu WEI. Optimization and Experiments of Flow-guiding Structure of Cathode in Electrochemical Machining of Internal Splines[J]. China Mechanical Engineering, 2025, 36(11): 2658-2664.